Patent Granted: Emulation of electrophysiological signals derived by stimulation of a body

Scientific Abstract

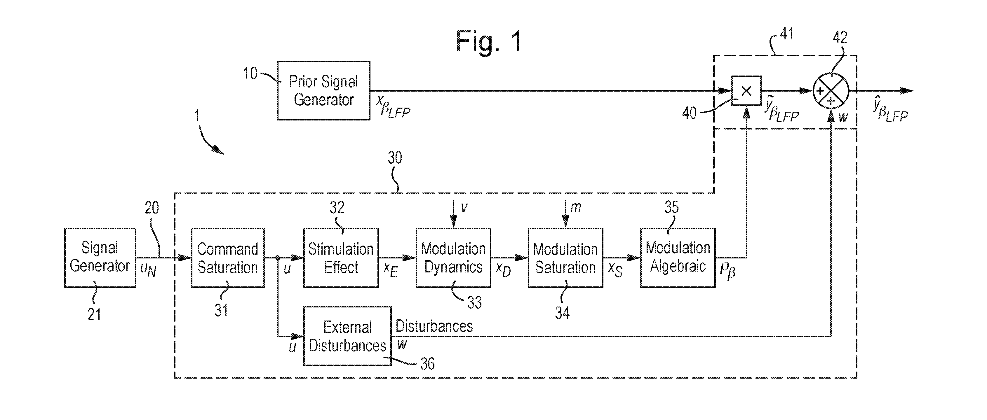
An emulation apparatus emulates an electrophysiological signal derived from a target area of a human or animal nervous system under the influence of a stimulation signal applied to the human or animal body. A prior signal generator generates a prior signal representing an electrophysiological signal in the absence of stimulation. A test signal representing a stimulation signal is received and used by a modelling unit to derive a modulation signal representing the degree of modulation of the electrophysiological signal, in accordance with a model of the temporal evolution of the modulation of the electrophysiological signal caused by the stimulation signal. A modulation unit modulates the prior signal in accordance with the modulation signal to output an emulation signal representing an electrophysiological signal derived under the influence of the stimulation signal. The emulation apparatus has wide use in neuroscience research, bioengineering and clinical applications.

Similar Content