Patent Application: Modulating wakefulness and arousal

Deli A
Green AL
Scientific Abstract

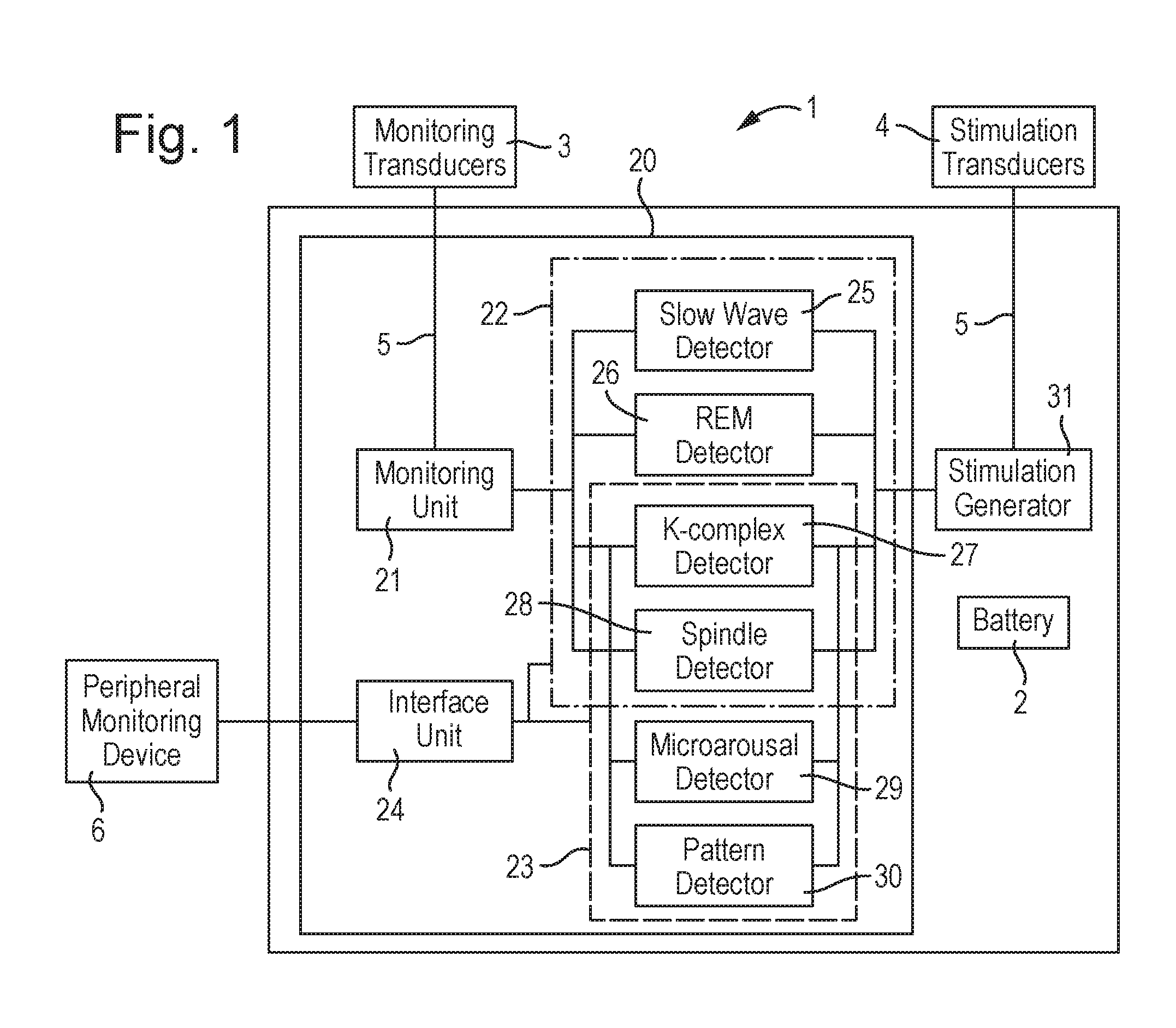
Arousal of a patient is enhanced and wakefulness modulated by neurostimulation. Bioelectrical activity of the nervous system of the patient is monitored and characteristics of the monitored bioelectrical activity associated with a state of reduced arousal and/or wakefulness are detected. In response to such characteristics, stimulation signals selected to arouse the patient are generated and supplied to stimulation transducers to stimulate a neural network of a patient associated with arousal.

block diagram of the dectectors and interfaces in the invention
Citation
2022. WO/2022/200814
Similar Content