Patent Application: Generation of controllable magnetic stimuli

Rogers DJ
Memarian Sorkhabi M
Scientific Abstract

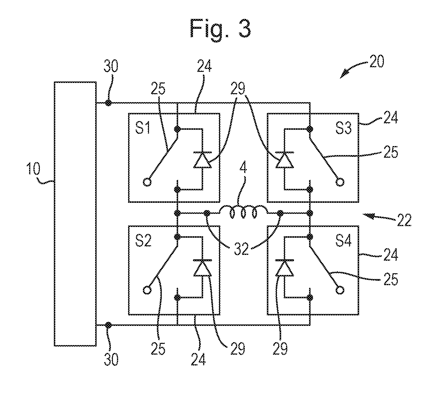
A stimulation circuit generates magnetic stimulation for application to a body organ using a coil arrangement. A DC supply is provided and supplied to a DC/AC inverter that comprises a bridge inverter stage comprising plural switch modules connected in a bridge arrangement between input terminals and output terminals for supplying the stimulation signal. A driver circuit supplies pulse width modulation control signals to the switch modules that are selected to control the DC/AC inverter to generate the stimulation signal with pulse width modulation of voltage, thereby providing for a high degree of control of the form of the stimulation.

Figure 3 from the patent application: electronics symbols are labelled with numbers in a diagram explaining the magnetic stimulation circuit.
Citation
2021. WO/2021/176219